电气试验绝缘电阻、吸收比、极化指数的测量
添加时间 2025-11-20
返 回
1、概述
测量电气设备的绝缘电阻是绝缘试验中最基本、最简便的方法。使用一台兆欧表就可以进行。兆欧表输出的是直流电压。而测量绝缘电阻、吸收比、极化指数的区别是在时间的读数上。由于这三种方法各有其用途和特点,可以互为补充,所以在《电力设备预防性试验规程》和《电气交接试验规程》中都给予了说明。在国外,对极化指数的使用已经比较普遍,我国尚在逐步推广之中。
这三种方法的特点是:
(1)绝缘电阻。读数时间为1min 。数值应归算到同一温度和过去值相比较,即存在一个温度修正的问题。它可以发现绝缘的整体和贯通性受潮、贯通性的集中缺陷。对局部缺陷反映不灵敏。
(2) 吸收比。采用读数为1min 和15s(或 30s)的绝缘电阻的比值。我国采用15s。
该值和温度无关,不用进行温度的换算,便于比较。可以较好地判断绝缘是否受潮,适用于电容量较大的设备。
(3) 极化指数。采用读数为10min和1min的绝缘电阻的比值。该值和温度无关,不用进行温度的换算,便于比较。可以很好地判断绝缘受潮。适用于各种电气设备绝缘系统,特别是干式绝缘系统,如旋转电机、电缆、干式变压器等。
2、测量原理
在直流电压的作用 下,绝缘中将通过电流,其变化是开始瞬间通过一个很高的电流,并很快地下降,然后缓慢地减少到接近恒定值为止。总的电流组成如下:
(1)泄漏电流iL 。它包括表面泄漏和容积泄漏电流。这是绝缘中带电质点 在电场力的作用下发生移动而形成的。电流增加,绝缘的电阻就减少。它基本上和时间无关。
(2)电容电流ic 。它是由快速极化(电子、离子 极化)而形成的,是时间的函数,随时间的增大而快速地减少,直至零。
(3)吸收电流ia 。它是由缓慢极化而形成的 (自由离子的移动),也是时间的函数,随时间的增长而缓慢地减少,它和被试设备的受潮情况有关。
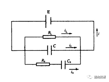
这三种电流的合成便是总电流 i 。在下图中表示了绝缘在直流电压作用下通过的电流和时间的关系曲线。在下图中表示了在测绝缘电阻时被试绝缘的等值回路, 其中 RL表示泄漏电流回路的纯电阻,C′表示电容电流 回路中电介质的几何电容,Ra和 Ca表示吸收电流回路的等值电阻和电容,E 表示外加的直流电压。

绝缘在直流电压下通过的电流
T -时间;i-总电流;ia-吸收电流;ic-电容电流;iL-泄漏电流
从上图可知,用初始电流和稳态电流之比 可以表 示绝 缘的受 潮程度,实 用上 用60s和15s时的绝缘电阻之比来表示,称为吸收比 (DAR)。当绝缘受潮时,泄漏电流iL大,占总电流的比例也大,R 60″和 R 15″的数值就相接近,故比值接近于1 ;当绝缘干燥时,泄漏电流就小,占总电流的比例也小,R 60″比 R 15″就大,故比值就大于1,一般认为,R 60″/R 15″≥1.3为干燥绝缘。而极化指数 (PI) 的原理和吸收比相似, 所 用的时 间更 长,即R 10min/R 1min 。当绝缘受潮或污染时,接近于1;干燥时,PI 就大于1 。
测量绝缘电阻的仪表称为兆欧表。其型式有手摇式,晶体管式和数字电子式。其输出直流电压等级有100 、250、500、1000 、2500 、5000V,对于不同电压等级的电气设备应使用不同电压的兆欧表,最常用的是500、1000 V 和2500 V 等级的。数字电子式兆欧表在国外已得到较多的采用。

测绝缘电阻时的等值回路图
3、影响绝缘电阻的因素
(1) 湿度影响。当空气的相对湿度增大时,绝缘物就容易受潮,从而使绝缘电阻降低。要求相对湿度小于80 %。
(2) 温度影响。当温度升高时,绝缘的电导增大而使绝缘电阻降低。温度的影响是很大的,为了进行比较必须对温度进行修正,对于不同的电气设备有不同的温度修正系数,并且有一定的误差。具体的修正系数将在下面各章中分别的说明。一般要求被试品及环境温度不低于+5 ℃。
(3) 表面状态的影响。表面的污染、受潮使绝缘物的表面电阻率下降,从而使绝缘电阻也下降。
(4)试验电压大小的影响。随着试验电压的增加,绝缘电阻会减少,对良好的干燥绝缘的影响较小。所以对于不同电压等级的电气设备应采用不同电压的兆欧表。
(5) 电气设备上剩余电荷的影响。剩余电荷的存在使被测数值会出现虚假现象 (增大或减小),所以在测试前应对被试设备进行充分的放电。
(6)兆欧表容量的影响。兆欧表容量要求越大越好, 推荐采用1mA及以上的兆欧表。
(7)接线和表计型式的影响。对同一设备应采用同一型式的表计和接线方式,否则也会出现误判断。
4、分析判断
(1)绝缘电阻应该大于规定的允许值。对不同的电气设备和部件的绝缘电阻的允许值是不同的。
(2)应将测得的值和同一设备过去的数据 (包括出厂数据);各相之间的数据;同类设备的数据进行比较。由于影响绝缘电阻的因素太多,在国内外都强调将 “比较” 作为分析判断的有力的措施。
(3) 在分析判断时,应充分地排除各种影响因素,如湿度、温度、表面污染等。
测量电气设备的绝缘电阻是绝缘试验中最基本、最简便的方法。使用一台兆欧表就可以进行。兆欧表输出的是直流电压。而测量绝缘电阻、吸收比、极化指数的区别是在时间的读数上。由于这三种方法各有其用途和特点,可以互为补充,所以在《电力设备预防性试验规程》和《电气交接试验规程》中都给予了说明。在国外,对极化指数的使用已经比较普遍,我国尚在逐步推广之中。
这三种方法的特点是:
(1)绝缘电阻。读数时间为1min 。数值应归算到同一温度和过去值相比较,即存在一个温度修正的问题。它可以发现绝缘的整体和贯通性受潮、贯通性的集中缺陷。对局部缺陷反映不灵敏。
(2) 吸收比。采用读数为1min 和15s(或 30s)的绝缘电阻的比值。我国采用15s。
该值和温度无关,不用进行温度的换算,便于比较。可以较好地判断绝缘是否受潮,适用于电容量较大的设备。
(3) 极化指数。采用读数为10min和1min的绝缘电阻的比值。该值和温度无关,不用进行温度的换算,便于比较。可以很好地判断绝缘受潮。适用于各种电气设备绝缘系统,特别是干式绝缘系统,如旋转电机、电缆、干式变压器等。
2、测量原理
在直流电压的作用 下,绝缘中将通过电流,其变化是开始瞬间通过一个很高的电流,并很快地下降,然后缓慢地减少到接近恒定值为止。总的电流组成如下:
(1)泄漏电流iL 。它包括表面泄漏和容积泄漏电流。这是绝缘中带电质点 在电场力的作用下发生移动而形成的。电流增加,绝缘的电阻就减少。它基本上和时间无关。
(2)电容电流ic 。它是由快速极化(电子、离子 极化)而形成的,是时间的函数,随时间的增大而快速地减少,直至零。
(3)吸收电流ia 。它是由缓慢极化而形成的 (自由离子的移动),也是时间的函数,随时间的增长而缓慢地减少,它和被试设备的受潮情况有关。
这三种电流的合成便是总电流 i 。在下图中表示了绝缘在直流电压作用下通过的电流和时间的关系曲线。在下图中表示了在测绝缘电阻时被试绝缘的等值回路, 其中 RL表示泄漏电流回路的纯电阻,C′表示电容电流 回路中电介质的几何电容,Ra和 Ca表示吸收电流回路的等值电阻和电容,E 表示外加的直流电压。

绝缘在直流电压下通过的电流
T -时间;i-总电流;ia-吸收电流;ic-电容电流;iL-泄漏电流
从上图可知,用初始电流和稳态电流之比 可以表 示绝 缘的受 潮程度,实 用上 用60s和15s时的绝缘电阻之比来表示,称为吸收比 (DAR)。当绝缘受潮时,泄漏电流iL大,占总电流的比例也大,R 60″和 R 15″的数值就相接近,故比值接近于1 ;当绝缘干燥时,泄漏电流就小,占总电流的比例也小,R 60″比 R 15″就大,故比值就大于1,一般认为,R 60″/R 15″≥1.3为干燥绝缘。而极化指数 (PI) 的原理和吸收比相似, 所 用的时 间更 长,即R 10min/R 1min 。当绝缘受潮或污染时,接近于1;干燥时,PI 就大于1 。
测量绝缘电阻的仪表称为兆欧表。其型式有手摇式,晶体管式和数字电子式。其输出直流电压等级有100 、250、500、1000 、2500 、5000V,对于不同电压等级的电气设备应使用不同电压的兆欧表,最常用的是500、1000 V 和2500 V 等级的。数字电子式兆欧表在国外已得到较多的采用。

测绝缘电阻时的等值回路图
3、影响绝缘电阻的因素
(1) 湿度影响。当空气的相对湿度增大时,绝缘物就容易受潮,从而使绝缘电阻降低。要求相对湿度小于80 %。
(2) 温度影响。当温度升高时,绝缘的电导增大而使绝缘电阻降低。温度的影响是很大的,为了进行比较必须对温度进行修正,对于不同的电气设备有不同的温度修正系数,并且有一定的误差。具体的修正系数将在下面各章中分别的说明。一般要求被试品及环境温度不低于+5 ℃。
(3) 表面状态的影响。表面的污染、受潮使绝缘物的表面电阻率下降,从而使绝缘电阻也下降。
(4)试验电压大小的影响。随着试验电压的增加,绝缘电阻会减少,对良好的干燥绝缘的影响较小。所以对于不同电压等级的电气设备应采用不同电压的兆欧表。
(5) 电气设备上剩余电荷的影响。剩余电荷的存在使被测数值会出现虚假现象 (增大或减小),所以在测试前应对被试设备进行充分的放电。
(6)兆欧表容量的影响。兆欧表容量要求越大越好, 推荐采用1mA及以上的兆欧表。
(7)接线和表计型式的影响。对同一设备应采用同一型式的表计和接线方式,否则也会出现误判断。
4、分析判断
(1)绝缘电阻应该大于规定的允许值。对不同的电气设备和部件的绝缘电阻的允许值是不同的。
(2)应将测得的值和同一设备过去的数据 (包括出厂数据);各相之间的数据;同类设备的数据进行比较。由于影响绝缘电阻的因素太多,在国内外都强调将 “比较” 作为分析判断的有力的措施。
(3) 在分析判断时,应充分地排除各种影响因素,如湿度、温度、表面污染等。








